Гидроклапан обратный типа 1МКО-..
Гидроклапаны обратные типа 1МКО.. изготавливаются только стыкового монтажа и предназначены для свободного пропускания потока рабочей жидкости (гидравлического масла с тонкостью фильтрации 25 мкм и кинематической вязкостью от 10 до 400мм2/с (сСт) при температуре масла от 100 до 700С) в одном направлении и для перекрытия потока в обратном направлении.Структура условного обозначения:
1МКО –Х / Х-Х Х Х, где
1—исполнение по присоединению (присоединительная плоскость по ГОСТ21464-76);
МКО—гидроклапан обратный
Х—исполнение по условному проходу: 10–Ду=10мм; 20–Ду=20мм; 32–Ду=32мм;
/
Х—исполнение по давлению: 20–20МПа (200кг/см2); 32–32МПа (320кг/см2);
Х—исполнение по давлению открывания: 1–0,05Мпа; 2–0,3МПа; 3–0,45Мпа; 4–0,75МПа; не указывается–0,15МПа;
Х—климатическое исполнение: УХЛ–для районов с умеренным и холодным климатом; О–для районов с тропическим климатом;
4—категория размещения.
Пример условного обозначения гидроклапанов обратных: 1МКО-20/20 УХЛ4, 1МКО-20/32-1 УХЛ4.
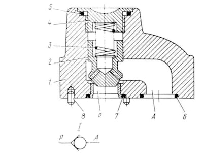
Устройство клапана обратного типа 1МКО-..
Гидроклапан обратный типа 1МКО-.. состоит из (рис.1):
1–корпус; 2–клапан; 3–пружина; 4–пробка; 5, 6, 7–резиновые уплотнительные кольца; 8–штифт.
РИС.1

Технические характеристики клапанов обратных типа 1МКО-..
| Марка гидроклапана | Условный проход, мм | Номинальное давление на входе, Мпа | Номинальный расход жидкости л/мин | Вес, кг | Габаритные размеры, мм |
| 1 МКО 10/20 | 10 | 20 | 40 | 1,2 | 786 x 5 x 60 |
| 1 МКО 10/32 | 10 | 32 | 40 | 1,2 | 786 x 5 x 60 |
| 1 МКО 20/20 | 20 | 20 | 160 | 3,3 | 133 x 97 x 75 |
| 1 МКО 20/32 | 20 | 32 | 160 | 3,3 | 133 x 97 x 75 |
| 1 МКО 32/20 | 32 | 20 | 400 | 6,4 | 127 x 127 x 102 |
| 1 МКО32/32 | 32 | 32 | 400 | 6,4 | 127 x 127 x 102 |
производитель
Гидравлик
Если вы хотите купить гидроклапан обратный типа 1МКО-.. , вы можете:
Позвонить:
