Реле давления типа РДП (РД) и ГОСТ
Реле давления РДП (РД) относятся к реле плунжерного типа с электрическим микропереключателем. Реле давления типа РДП устанавливаются в гидросистемах станков и иных машин, работающих на давлении до 32МПа, для обеспечения контроля давления рабочей среды. Реле типа РДП имеют стыковое присоединение, реле типа РД–резьбовое.Старая модификация реле данного типа маркировалась как реле давления ГОСТ и отличается от реле давления марки РДП наличием дренажного отверстия, позволяющего за счёт утечек понизить зону нечувствительности.
Реле давления типа РДП и реле типа ГОСТ эксплуатируются на чистых минеральных маслах с кинематической вязкостью от 10 до 220 мм2 и температурой от +100 до +700С при температуре окружающей среды от +10 до +450С, очищенных до класса чистоты не ниже 25мкм.
Реле типа РДП (РД) и типа ГОСТ изготавливаются с климатическим исполнением УХЛ4 (для умеренного и холодного климата), а также О4 (для тропического климата).
В зависимости от давления марка реле давления может быть 1РДП, 2РДП, 3РДП, 4РДП или же 1ГОСТ, 2ГОСТ, 3ГОСТ, 4ГОСТ.
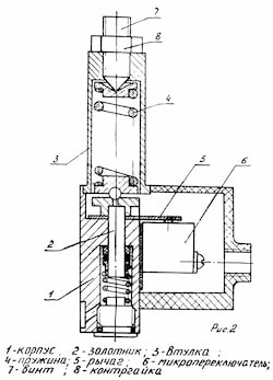
Устройство реле давления типа РДП представлено на рис.1
РИС1.

Технические характеристики реле давления типа РДП (РД) (см.табл.1)
Таблица1

СПРАВОЧНО: Для реле типа ГОСТ (соответственно для типов 1, 2, 3 и 4)
Зона нечувствительности (с давлением в линии дренажа до 0,02 МПа), МПа
| 0,4 | 0,7 | 1,2 | 1,5 |
без отвода утечек
| 0,85 | 1,2 | 1,8 | 2,2 |
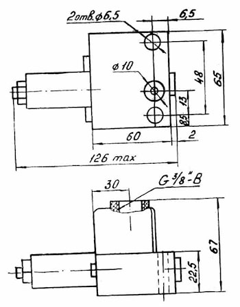
Габаритные и присоединительные размеры реле давления РДП:

Если вы хотите купить реле давления типа РДП (РД) и ГОСТ , вы можете:
Позвонить:
