Регуляторы расхода МПГ55-..М
Регуляторы расхода МПГ55-2..М представляют собой дроссельный регулятор, позволяющий исключить влияние нагрузки на расход жидкости, а следовательно, и на скорость гидравлического двигателя. В связи с этим данный тип регуляторов расхода устанавливают в гидросистемах различного оборудования, где требуется поддержание установленной скорости перемещения рабочих органов. Регуляторы типа МПГ55-2..М объединяют в одном корпусе дроссель и редукционный клапан. Редукционный клапан поддерживает постоянный перепад давления на дросселирующей щели, благодаря чему расход рабочей жидкости, проходящей через гидродроссель, не зависит от давления на входе и выходе из него.Существуют также иные конструкции регуляторов расхода, например, типа МПГ55-1..М, когда для ограничения давления в рабочей магистрали до 6,3 / 10 / 20 МПа (в зависимости от исполнения), встроен предохранительный клапан или МПГ55-3..М, имеющие дополнительно обратный клапан для свободного пропуска рабочей жидкости в обратном направлении.
Регуляторы расхода подразделяются на двухлинейные (тип МПГ55-2..М, МПГ55-3..М, ПГ62-) и трёхлинейные (тип МПГ55-1..М).
Регуляторы расхода работают на минеральных маслах с тонкостью фильтрации 25 мкм, вязкостью 10-200 сСт при температуре масла от +10 до +70ºС и температуре окружающей среды от +1 до +40ºС.
Структура условного обозначения:
Х МПГ55-2 Х М ХХ, где
Х—исполнение по прочности: без индекса-нормальная прочность; 2-повышенная прочность;
МПГ55-2—тип регулятора;
Х—условный проход: 2–Ду 10мм, 4–Ду 16мм, 3–Ду 20мм;
М—модернизированный;
ХХ—климатическое исполнение и категория размещения (УХЛ4 либо О4).
Примечание: иногда индекс «М» может отсутствовать в обозначении регуляторов расхода, тем не менее, даже при отсутствии индекса «М» конструкция регулятора считается модернизированной.
Пример условного обозначения: МПГ55-22М УХЛ4, МПГ55-34М УХЛ4.
Для регуляторов типа МПГ55-1..М структура условного обозначения аналогична, но добавочный буквенный индекс обозначает ограничение по давлению в рабочей магистрали:
–без индекса =6,3 МПа;
–«А» =10 МПа;
–«Б» =20 МПа;
–«Д» =32 МПа (только для регуляторов повышенной прочности).
Пример условного обозначения: МПГ55-12М УХЛ4, МАПГ55-14М УХЛ4, 2МДПГ55-15М УХЛ4.
Технические характеристики регуляторов расхода типа МПГ55-2..М:
Таблица 1.
| Обозначение | Ду, мм | Расход рабочей жидкости ном./мин./макс., л/мин | Давление на входе ном./мин. при расходе до 50% от номин./макс., МПа | Макс. давление на выходе, МПа | Перепад давления на дросселе регулятора расхода, МПа, не менее | Расход утечек масла через полностью закрытый дроссель, см³/мин, не более | Допустимое отклонение установленного расхода, %, не более | Масса, кг |
| МПГ55-22М | 10 | 25 / 0,04 / 32 | 20 / 0,5 / 21,5 | 20 | 0,15 - 0,25 | 30 | ± 5 | 4 |
| 2МПГ 55-22М | ||||||||
| МПГ55-24М | 16 | 100 / 0,09 / 120 | 70 | 7,5 | ||||
| 2МПГ55-24М | ||||||||
| МПГ 55-25М | 20 | 200 / 0,15 / 240 | 120 | 15,5 | ||||
| 2МПГ55-25М |
Технические характеристики регуляторов расхода типа МПГ55-3..М:
Таблица 2.
| Обозначение | Ду, мм | Расход рабочей жидкости ном./мин./макс., л/мин | Давление на входе ном./мин./макс., МПа | Макс. давление на выходе, МПа | Перепад давления на дросселе регулятора расхода, МПа, не менее | Расход утечек масла через полностью закрытый дроссель, см³/мин, не более | Допустимое отклонение установленного расхода, %, не более | Масса, кг |
| МПГ55-32М | 10 | 25 / 0,04 / 32 | 20 / 0,5 / 21,5 | 20 | 0,15 - 0,25 | 30 | ± 5 | 4 |
| МПГ55-34М | 16 | 100 / 0,09 / 120 | 70 |
Технические характеристики регуляторов расхода типа МПГ55-1..М:
Таблица 3.
| Обозначение | Ду, мм | Ном. расход на входе, л/мин | Ном. расход на выходе, л/мин | Ном. давление на входе, МПа | Макс. давление на выходе, МПа | Диапазон регулировки давления, МПа | Масса, кг |
| МПГ55-12М | 10 | 30 | 25 | 6,3 | 10 | 1,0-10,0 | 4 |
| МАПГ55-12М | 10 | 12 | 2,0-12,5 | ||||
| МБПГ 55-12М | 20 | 24 | 3,0-24,0 | ||||
| 2МДПГ 55-12М | 32 | 38 | 5,0-38,0 | ||||
| МПГ55-14М | 16 | 110 | 100 | 6,3 | 10 | 1,0-10,0 | 7,9 |
| МАПГ 55-14М | 10 | 12,5 | 2,0-12,5 | ||||
| МБПГ55-14М | 20 | 24 | 3,0-24,0 | ||||
| 2МДПГ55-14М | 32 | 38 | 5,0-38,0 | 8,6 | |||
| МПГ 55-15М | 20 | 215 | 200 | 6,3 | 10 | 1,0-10,0 | 16,4 |
| МАПГ55-15М | 10 | 12,5 | 2,0-12,5 | ||||
| МБПГ 55-15М | 20 | 24 | 3,0-24,0 | ||||
| 2МДПГ 55-15М | 32 | 38 | 5,0-38,0 | 17,4 |
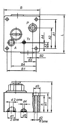
Габаритные и присоединительные размеры регуляторов расхода МПГ55-2..М и МПГ55-3..М:
РИС.1

РИС. 2

| Обозначение | L | B | H | h | d | d1 | d2 | d3 | d4 |
| МПГ55-32 | 112 | 105 | 94 | 47 | 10 | 16 | 9 | 15 | 3 |
| МПГ55-34 | 147 | 128 | 107 | 588 | 18 | 25 | 11 | 18 | 5 |
| Обозначение | d5 | a1 | a2 | a3 | a4 | В1 | В2 | В3 | В4 |
| МПГ55-32 | 10 | 76,2 | 54 | 8 | 9,6 | 82,5 | 11 | 36 | 52,5 |
| МПГ55-34 | 10 | 101,6 | 71,4 | 20,8 | 20,6 | 101,6 | 12,7 | 54,6 | 88,9 |
производитель
Гидравлик
Если вы хотите купить регуляторы расхода МПГ55-..М , вы можете:
Позвонить:
