Гидромоторы аксиально-поршневые типа Г15-2..Р
Гидромоторы типа Г15-..Р относятся к группе гидромоторов аксиально-поршневого типа и предназначены для бесступенчатого регулирования скоростей, а также для работы в следящих приводах и в системах, где требуются реверсивные, частые включения, автоматическое и дистанционное управление.Гидромоторы типа Г15-2..Р эксплуатируются на минеральном масле вязкостью от 10 до 220 мм2/с при t масла от 100 до 600С и при t окружающей среды от 00С до 450С.
Пример условного обозначения: Г15-22Р УХЛ4, Г15-24Р УХЛ4 (где УХЛ4—климатическое исполнение и категория размещения)
Ранее гидромоторы выпускались под маркой Г15-2..Н, гидромоторы марки Г15-..Р являются их усовершенствованной конструкцией.
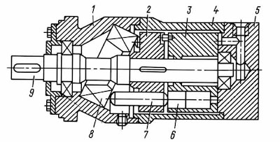
Устройство аксиально-поршневого гидромотора типа Г15-2..Р и принцип действия:
Гидромотор Г15-2..Р состоит из ротора (3) с поршнями (6), барабана (2) с толкателями (7), корпуса (1), радиально-упорного шарикоподшипника (8), вала (9), корпуса (4) и опорного диска (5).

Поступающее в гидромотор минеральное масло действует на поршни, в результате чего толкатели выдвигаются и поджимаются к шарикоподшипнику. Под действием тангециальных сил толкатели вращаются вместе с барабаном, валом, ротором и поршнями. При поступлении масла через канал 1 (см.ниже рис.габаритные размеры) вал гидромотора вращается по часовой стрелке, при изменении направления потока масла происходит реверсирование гидромотора. Если пренебречь зависимостью КПД гидромотора от нагрузки, то можно считать, что момент, развиваемый гидромотором пропорционален давлению нагнетания.
Масло из корпуса гидромотора отводится через дренажную линию. Во время эксплуатации гидромотор должен быть заполнен маслом выше средней линии, если гидромотор находится в вертикальном положении, он должен быть весь заполнен маслом, для этого соответственно нужно подсоединить дренажную линию. Для защиты гидромотра от перегрузок в гидролинию необходимо монтировать предохранительный клапан.
В зависимости от рабочего объёма гидромоторы типа Г15-2..Р имеют пять типоразмеров.
Технические характеристики гидромоторов типа Г15-2..Р
| Тип гидромотора | Рабочий объем, м³ | Крутящий момент, Н·м | Давление, МПа | Частота вращения, об/мин |
| Г15-21Н | 11,2 | 8,0 | 6,3 | 960 |
| Г15-22Н | 20 | 16 | ||
| Г15-23Н | 40 | 32 | ||
| Г15-24Н | 80 | 64 | ||
| Г15-25Н | 160 | 128 | ||
| Г15-21Р | 11,2 | 9,6 | ||
| Г15-22Р | 20 | 17 | ||
| Г15-23Р | 40 | 34 | ||
| Г15-24Р | 80 | 68 | ||
| Г15-25Р | 160 | 136 |
Габаритные и присоединительные размеры, схема подключения гидромотора типа Г15-2..Р


Если вы хотите купить гидромоторы аксиально-поршневые типа Г15-2..Р , вы можете:
Позвонить:
