Насосы для смазки типа С12-5М-.. и С12-4М-..
Насосы для смазки типа С12-4М-.. и С12-5М-..(ТУ 2.053.1764-85) относятся к группе нерегулируемых пластинчатых насосов однократного действия и применяются для подачи чистых минеральных масел с диапазоном вязкости от 17 до 213 мм2/с в смазочные системы станков и других машин.Насосы для смазки выпускаются с реверсивным направлением вращения (тип С12-4М-) и правым направлением вращения вала (тип С12-5М-).
Насосы для смазки типа С12-4М-.. и С12-5М-.. пришли на место устаревших моделей насосов типа С12-4.. (например: С12-41, С12-43) и типа С12-5..(например: С12-52, С12-54). Технические характеристики насосов типа С12-4.. и С12-5.. см.здесь.
Структура условного обозначения
| С12- | Х | М | -Х | УХЛ4 |
| 1 | 2 | 3 | 4 | 5 |
| 1 | Тип насоса: насос для смазки пластинчатый | |||||||
| 2 | Направление вращения вала: 4—реверсивное; 5—правое | |||||||
| 3 | М—модернизированный | |||||||
| 4 | цифра обозначает рабочий объём , см3 (2; 3,2; 4; 6,2; 10) | |||||||
| 5 | климатическое исполнение– УХЛ и категория размещения 4–по ГОСТ15150-69 | |||||||
Технические характеристики насосов для смазки типа С12-4М-.. и С12-5М-..
| Наименование | Подача | Давление на выходе | Рабочий объем | Номинальная мощность | Масса |
| насосов | Q, л/мин | Мпа | см3 | КВт | кг |
| С12-4М-2 | 1,8 | 0,25 - 0.4 | 2 | 0,05 | 1,8 |
| С12-4М-3,2 | 2,9 | 0,25 - 0.4 | 3,2 | 0,06 | 1,8 |
| С12-4М-4 | 4,2 | 0,25 - 0.4 | 4 | 0,07 | 2,8 |
| С12-4М-6,3 | 6,6 | 0,25 - 0.4 | 6,3 | 0,12 | 2,8 |
| С12-4М-10 | 8 | 0,25 - 0.4 | 10 | 0,18 | 2,8 |
| С12-5М-2 | 2,5 | 0,25 - 0.4 | 2 | 0,05 | 1,6 |
| С12-5М-3,2 | 4 | 0,25 - 0.4 | 3,2 | 0,06 | 1,6 |
| С12-5М-4 | 5 | 0,25 - 0.4 | 4 | 0,07 | 2,5 |
| С12-5М-6,3 | 8 | 0,25 - 0.4 | 6,3 | 0,12 | 2,5 |
| С12-5М-10 | 8,5 | 0,25 - 0.4 | 10 | 0,18 | 2,5 |
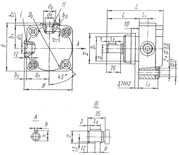
Габаритные и присоединительные размеры насосов типа С12-4М-.. и С12-5М-..

| Модель насоса | Размеры, мм | |||||||||||||||||
| D | D1 | D2 | d | d1 | d2 | d3 | B | b | b1 | b2 | b3 | L | l | l1 | l2 | l3 | h | |
| С12-4М-2; -3,2 | 45h6 | 40h12 | 75 | 12j6 | M16x1,5 | M14x1,5 | 20+0,4 | 75 | 4h9 | 36,5 | 2 | 1,2 | 94 | 49 | 14 | 12Н15 | 30,5 | 13,5 |
| С12-5М-2; -3,2 | 84 | 35,5 | ||||||||||||||||
| С12-4М-4; -6,3; -10 | 55h6 | 50h12 | 86 | 20j6 | M22x1,5 | M16x1,5 | 22+0,4 | 86 | 6h9 | 41 | 4 | 1,5 | 110 | 61 | 16 | 18Н15 | 40,5 | 22,5 |
| С12-5М-4; -6,3; -10 | 105 | 34,5 | ||||||||||||||||
производитель
Елецкий завод Гидропривод
Если вы хотите купить насосы для смазки типа С12-5М-.. и С12-4М-.. , вы можете:
Позвонить:
