Станции смазочные типа И-СЭ
Станции смазочные типа И-СЭ эксплуатируются на чистых минеральных маслах (класс чистоты должен быть не ниже 14) с кинематической вязкостью от 30 до 600 мм2/с. Температура масла должна быть от +50С до +500С, температура окружающей среды—от +10С до +400С.Станции смазочные (станции смазки) входят в комплектацию импульсных смазочных систем с электроприводом и подают смазочный материал к импульсным смазочным питателям.
Структура условного обозначения станций смазочных типа И-СЭ
| И-СЭ | – | Х | / | Х | – | ХХХ | ТУ2-053-1623-82 |
| И-СЭ | Тип смазочной станции | ||||||
| – | |||||||
| Х | Вместимость бака, дм3 | ||||||
| / | |||||||
| Х | Номинальная подача, л/мин | ||||||
| ХХХ | Климатическое исполнение и категория размещения по ГОСТ 15150 (УХЛ4, О4.1) | ||||||
Устройство станций смазки типа И-СЭ (см.Рис.1):
Станции смазочные И-СЭ состоят из бака (поз.7) (для И-СЭ 2,5/0,5 он выполнен из прозрачной пластмассы вместимостью 2,5 дм3; для И-СЭ 10/0,5 и 10/1,0–металлический с маслоуказателями верхнего и нижнего уровней вместимостью 10 дм3 ), закрытого крышкой (поз.3), к которой крепится насосная установка в виде шестеренного насоса (поз.5) с электродвигателем (поз.1), клапанная коробка (поз.2) с дросселем (поз.8) выпуска воздуха, реле уровня (поз.6) и заливной фильтр (поз.4) с воздушным фильтром. Места для крепления станций расположены на крышке.
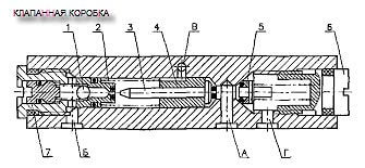
Принцип действия станций смазки типа И-СЭ (см.Рис.1/А):
При подаче питания на электродвигатель станции шестерённый насос подает масло из бака во входной канал «А» клапанной коробки. Под действием давления масла поршень 4 вместе с клапаном 3 перемещается, сжимая пружину 2, при этом сливной канал «Б» закрывается разгрузочным клапаном 3. Затем поршень 4, перемещаясь дальше по клапану, открывает проход масла к выходному каналу «В». При достижении давления настройки предохранительного клапана 5 масло через него сливается обратно в бак через канал «Г». После отключения электродвигателя и насоса поршень с клапаном под действием пружины возвращается в исходное положение, при этом входной канал перекрывается, а выходной канал соединяется со сливным через подпорный клапан 1.
Рис..1/А


Технические характеристики станций смазки типа И-СЭ
| Наименование параметра | Норма для станций | ||
| И-СЭ-2,5/0,5 | И-СЭ-10/0,5 | И-СЭ-10/1,0 | |
| Номинальная подача, л/мин | 0,5±0,125 | 0,5±0,125 | 1,0±0,25 |
| Номинальная вместимость резервуара, дм3, не менее | 2,5 | 10 | 10 |
| Давление нагнетания, МПа | |||
| - номинальное | 2,5 | ||
| - максимальное | 3,2 | ||
| Давление настройки предохранительного клапана, МПа | 3,0±0,2 | ||
| Давление настройки подпорного клапана, МПа | 0,04±0,02 | ||
| Коэффициент подачи, не менее | 0,72 | ||
| Тип насоса | шестеренный | ||
| Мощность приводного электродвигателя, кВт, не более | 0,09 | ||
| Масса (без масла), кг, не более | 6,0 | 13,5 | 15,0 |
Габаритные и присоединительные размеры станций смазки типа И-СЭ см. здесь
производитель
НЗСФО
Если вы хотите купить станции смазочные типа И-СЭ , вы можете:
Позвонить:
