Питатели импульсные смазочные на планке
Питатели импульсные смазочные на планке также относятся к группе дозирующих устройств и предназначены для дозированной подачи жидкого смазочного материала, а именно чистого минерального масла с кинематической вязкостью от 10 до 600 мм2/с, к узлам трения различных машин и механизмов. Обычно питатели импульсные смазочные на планке входят в состав смазочных импульсных систем.Структура условного обозначения импульсных питателей на планке аналогична обозначению импульсных питателей, т.е первая цифра указывает тип исполнения (1 или 2), а последующие–объём в см3, подаваемый одним отводом, количество цифр соответствует числу отводов питателя.
Пример условного обозначения: питатель 1-005 УХЛ4, питатель 2-050-050-032-020-050 УХЛ4
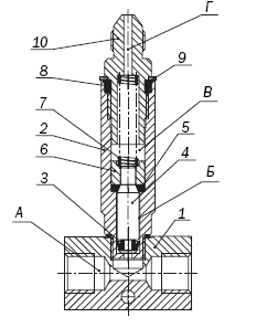
Устройство питателей импульсных смазочных на планке:
1-планка; 2-корпус; 3-манжета; 4-клапан; 5-кольцо; 6-гильза; 7-пружина; 8-уплотнительное кольцо; 9-регулирующее кольцо; 10-штуцер.

Принцип работы импульсного питателя на планке:
При подаче масла и повышении давления во входном отверстии А усики манжеты отгибаются, и масло заполняет полость Б, при этом клапан прижимается к кольцу, тем самым предохраняя перетечку масла из полости Б в полость В. Подвижная система поднимается вверх, и пружина сжимается. Масло, которое находится в полости В подаётся через выходное отверстие Г. Как только входное отверстие А соединяется со сливом, подвижная система (под действием пружины) стремится опуститься вниз, при этом в полости Б создаётся давление, манжета запирает проход из полости Б в полость А, и клапан открывается. При движении подвижной системы вниз доза масла перетекает из полости Б в полость В и таким образом происходит перезарядка дозатора. (Иногда импульсные питатели называют дозаторами)
Технические характеристики импульсных питателей на планке
| Диаметр поршня | Число отводов питателя | Макс. давление на входе, МПа | Макс. давление на выходе, МПа | Объем, подаваемый за цикл, см3 | Масса, кг | L max., мм |
| 6 | 1 | 3,2 | 1,6 | 0,02; 0,05 | 0,08 | 73 |
| 2 | 0,14 | |||||
| 3 | 0,22 | |||||
| 5 | 0,35 | |||||
| 8 | 1 | 3,2 | 1,6 | 0,05; 0,10; 0,20; 0,32; 0,50 | 0,16 | 90 |
| 2 | 0,26 | |||||
| 3 | 0,35 | |||||
| 5 | 0,55 |
Габаритные и присоединительные размеры питателей импульсных на планке


производитель
НЗСФО
Если вы хотите купить питатели импульсные смазочные на планке , вы можете:
Позвонить:
