Дросселирующий гидрораспределитель Г61-41
Дросселирующий гидрораспределитель Г61-41, иначе называемый золотник Г61-41 или следящий золотник, соответствует ТУ 2-053-1477-80 и нашёл широкое применение в следящих системах гидроприводов различных токарных, фрезерных, поперечно-строгальных и иных типов станков и механизмов. Дросселирующие гидрораспределители представляют собой регулирующие гидравлические аппараты, меняющие расход и направление потока рабочей жидкости в нескольких линиях одновременно в зависимости от внешнего управляющего воздействия, которое чаще всего бывает механическим или электрическим.Дросселирующие распределители типа Г61-41 являются аппаратами встраиваемого исполнения, к качеству исполнения основных деталей которого применяются достаточно жесткие требования.
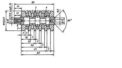
Дросселирующий гидрораспределитель Г61-41 состоит из корпуса, гильзы и вставленного в неё четырёхкромочного золотника. Гильза с золотником в свою очередь вставляется в корпус, имеющий каналы для соединения крайних кольцевых канавок со сливной линией, средней—с напорной, а двух промежуточных—с гидродвигателем.
Технические параметры дросселирующих гидрораспределителей типа Г61-41:
| Наименование параметра | Норма для исполнений | |||
| Г61-41 | Г61-41А | Г61-41Б | Г61-41В | |
| Расход рабочей жидкости номинальный, л/мин | 16,0 | |||
| Давление на входе ном., МПа | 6,3 | |||
| Расход рабочей жидкости через каждую из кромок, см³/мин | 750-820 | 920-1000 | 1000-1200 | 1335-1500 |
| Утечка рабочей жидкости в дренаж, см³/мин | 1,0 | |||
| Усилие управления, Н | 1,0 | |||
| Масса, кг | 0,43 | |||
Габаритные размеры дросселирующего гидрораспределителя Г61-41:

производитель
Россия
Если вы хотите купить дросселирующий гидрораспределитель Г61-41 , вы можете:
Позвонить:
